- info@simpl.by
- kvalimbel@mail.ru
- Пн- Пт: 09:00 - 18:00 / Сб - Вс: 09.00 - 15.00
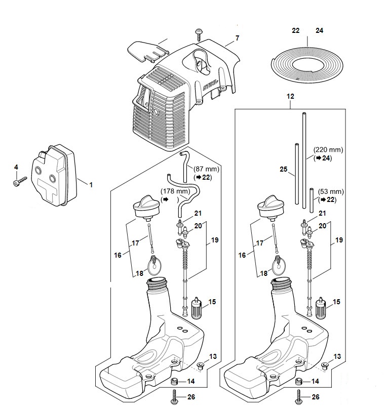
Глушитель-топливный бак-кожух FS250 FS350
45 BYN
2 BYN
Артикул
41340840915
Номер на изображении
7
Используемое количество
1
61 BYN
2 BYN
Артикул
41343500420
Номер на изображении
12
Содержит элементы
13 - 22, 24, 25
Используемое количество
1
123 BYN
Артикул
0000 351 3200
Номер на изображении
13
Используемое количество
4
2 BYN
Артикул
11250848900
Номер на изображении
14
Используемое количество
4
2 BYN
Артикул
0000 350 3502
Номер на изображении
15
Используемое количество
1
11 BYN
Артикул
41283500505
Номер на изображении
16
Содержит элементы
17,18
Используемое количество
1
19 BYN
Артикул
41343507600
Номер на изображении
19
Содержит элементы
20
Используемое количество
1
2 BYN
Артикул
0000 937 5004
Номер на изображении
22
Используемое количество
1
50 BYN
2 BYN
Цепь 50 0,404 1,6 32 зуба RS (из бухты) 3946 000 0064
Напильник круглый Ø4,8 200мм 5605 772 4806 (отгрузка кратно 6 шт) 


